服務熱線:15195518515在線客服:1464856260
傳真號碼:0517-86801009
郵箱號碼:1464856260@qq.com
網 址:http://m.bjjtws.cn
地 址:江蘇省金湖縣理士大道61號
防腐磁性浮子液位計原理
發布時間:2021-12-30 09:18:21??點擊次數:2157次
防腐磁性浮子液位計廣泛應用于水、鹽酸、硫酸、硝酸、工業廢水、藥液等各種液位的測量。那么防腐磁性浮子液位計是如何工作的?其結構又是怎樣的呢?本文擬結合防腐磁性浮子液位計的原理及結構圖介紹如下。

防腐磁性浮子液位計是基于連通器和磁性耦合原理實現液位實時測量的。當被測容器中的液位升降時,浮筒內的磁性浮子也隨之升降,浮子內的永久磁鋼通過磁性耦合驅動浮筒外部的磁性翻片翻轉180°,翻片兩面分別涂有不同的顏色(通常為紅色和白色),以指示液位的位置。一般地,當容器內液位上升時,翻片由白色轉變為紅色,當容器內液位下降時,翻片由紅色轉變為白色,指示器的紅白交界處即為容器內液位的實際高度,從而實現液位的準確測量。
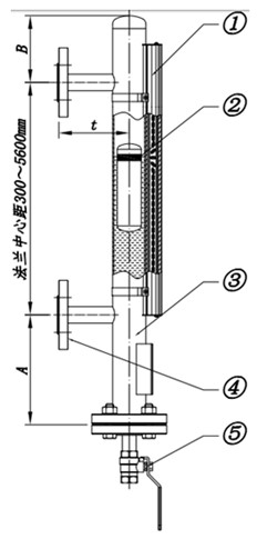
防腐磁性浮子液位計結構圖如下:

在上面的防腐磁性浮子液位計結構圖中:
①為指示器,也稱做顯示面板,指示器起著就地顯示的作用,方便遠距離觀察液位的實際情況,指示器一般與浮筒捆綁在一起,方便安裝。
②為磁浮子,磁浮子位于浮筒里面,與被測液體直接接觸,當被測容器中的液位升降時,磁浮子也隨之升降,從而指示當前的液位。磁浮子根據不同的液體密度有不同的選擇,同時根據不同的液體酸堿性有不同的材質選擇。
③為浮筒,浮筒通過過程連接與被測容器連接在一起,從而形成連通器,實現液位的測量,浮筒的材質根據不同的液體性質有不同的選擇,例如不銹鋼304、316L、內襯、PVC等等。
④為連接法蘭,過程連接法蘭是浮筒與被測容器之間的連接小管上的緊固件,根據不同的液體性質,不同的工況,有不同的壓力和直徑選擇。兩個連接法蘭之間的距離為防腐磁性浮子液位計的測量量程。
⑤為排污閥,排污閥是浮筒下面的配件,當防腐磁性浮子液位計需要清洗或調試時,能夠起到關鍵作用。



|